1. Bu lông 8.8 mạ điện phân là gì

2. Vật liệu chế tạo bu lông 8.8 mạ điện phân

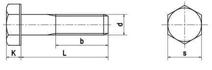
Bu lông 8.8 mạ điện phân ren suốt
2.1. Sử dụng vât liệu có cơ tính tối thiểu đạt cơ tính của bu lông cấp bền 8.8.
2.2 Dùng vật liệu có cơ tính thấp hơn cơ tính cấp bền 8.8 sau đó sử dụng các phương pháp gia công nhiệt làm tăng cấp độ bền của bu lông.
3. Phân loại bu lông 8.8 mạ điện phân
3.1 Bu lông tiêu chuẩn DIN 933

d | M4 | M5 | M6 | M8 | M10 | M12 | M14 | M16 | M18 | M20 | M22 |
P | 0.7 | 0.8 | 1 | 1.25 | 1.5 | 1.75 | 2 | 2 | 2.5 | 2.5 | 2.5 |
k | 2.8 | 3.5 | 4 | 5.3 | 6.4 | 7.5 | 8.8 | 10 | 11.5 | 12.5 | 14 |
s | 7 | 8 | 10 | 13 | 17 | 19 | 22 | 24 | 27 | 30 | 32 |
d | M24 | M27 | M30 | M33 | M36 | M39 | M42 | M45 | M48 | M52 | M56 |
P | 3 | 3 | 3.5 | 3.5 | 4 | 4 | 4.5 | 4.5 | 5 | 5 | 5.5 |
k | 15 | 17 | 18.7 | 21 | 22.5 | 25 | 26 | 28 | 30 | 33 | 35 |
s | 36 | 41 | 46 | 50 | 55 | 60 | 65 | 70 | 75 | 80 | 85 |
Bảng tiêu chuẩn Bu lông DIN 933
3.2 Bu lông tiêu chuẩn DIN 931

d | M4 | M5 | M6 | M8 | M10 | M12 | M14 | M16 | M18 | M20 | M22 |
P | 0.7 | 0.8 | 1 | 1.25 | 1.5 | 1.75 | 2 | 2 | 2.5 | 2.5 | 2.5 |
k | 2.8 | 3.5 | 4 | 5.3 | 6.4 | 7.5 | 8.8 | 10 | 11.5 | 12.5 | 14 |
s | 7 | 8 | 10 | 13 | 17 | 19 | 22 | 24 | 27 | 30 | 32 |
b1, L≤125 | 14 | – | 18 | 22 | 26 | 30 | 34 | 38 | 42 | 46 | 50 |
b2, 125<L≤200 | – | 22 | 24 | 28 | 32 | 36 | 40 | 44 | 48 | 52 | 56 |
b3, L>200 | – | – | – | – | – | – | – | 57 | 61 | 65 | 69 |
d | M24 | M27 | M30 | M33 | M36 | M39 | M42 | M45 | M48 | M52 | M56 |
P | 3 | 3 | 3.5 | 3.5 | 4 | 4 | 4.5 | 4.5 | 5 | 5 | 5.5 |
k | 15 | 17 | 18.7 | 21 | 22.5 | 25 | 26 | 28 | 30 | 33 | 35 |
s | 36 | 41 | 46 | 50 | 55 | 60 | 65 | 70 | 75 | 80 | 85 |
b1, L≤125 | 54 | 60 | 66 | 72 | 78 | 84 | 90 | 96 | 102 | – | – |
b2, 125<L≤200 | 60 | 66 | 72 | 78 | 84 | 90 | 96 | 102 | 108 | 116 | 124 |
b3, L>200 | 73 | 79 | 85 | 91 | 97 | 103 | 109 | 115 | 121 | 129 | 137 |
Bảng tiêu chuẩn bu lông DIN 931
4. Ứng dụng bu lông 8.8 mạ điện phân
Bu lông 8.8 mạ điện được sử dụng rất phổ biến trong đa dạng các lĩnh vực như:
- Ngành ô tô: Bu lông cấp bền 8.8 mạ điện phân được sử dụng trong việc lắp ráp và gắn kết các bộ phận của ô tô, bao gồm động cơ, hộp số, hệ thống treo và phanh.
- Cơ khí chế tạo: Trong ngành công nghiệp chế tạo máy móc, bu lông cấp bền 8.8 được dùng để kết nối các bộ phận máy móc và thiết bị, giúp tạo thành các hệ thống chịu tải và hoạt động hiệu quả
- Đóng tàu và hàng hải: Trong ngành đóng tàu, bu lông cấp bền 8.8 mạ điện phân được sử dụng để lắp ráp các thành phần kết cấu của tàu và giữ cho các bộ phận chịu được sự chịu tải lớn trên biển.
- Ngành hàng không: Trong sản xuất và bảo trì máy bay, sản phẩm này được sử dụng để gắn kết các bộ phận quan trọng và đảm bảo tính an toàn và tin cậy của máy bay.
- Xây dựng và kiến trúc: Bu lông cấp bền 8.8 mạ điện phân là lựa chọn ưa thích để kết nối các khung kết cấu thép trong nhà thép kết cấu , đồng thời cũng được dùng để gắn kết các bộ phận trong các công trình xây dựng như cầu, nhà cao tầng và các công trình dân dụng khác.

Ứng dụng bu lông cấp bền 8.8 trong lắp đặt nhà thép kết cấu
- Ngành năng lượng: Trong lĩnh vực năng lượng tái tạo và năng lượng hạt nhân, bu lông cấp bền 8.8 mạ điện phân được sử dụng trong việc lắp đặt và bảo trì các thiết bị và hệ thống phức tạp.
- Các dự án cơ sở hạ tầng: Trong việc xây dựng các công trình hạ tầng, bu lông cấp bền 8.8 đóng vai trò quan trọng trong việc kết nối và giữ vững các bộ phận cơ học, đảm bảo tính ổn định và an toàn của cầu, cống và đường cao tốc.
- Ngành công nghiệp nặng: Trong môi trường làm việc nặng nề như nhà máy thép, nhà máy xi măng, bu lông cấp bền 8.8 mạ điện phân được ưa chuộng vì khả năng chịu tải lớn và khả năng chống ăn mòn.
Có thể nói, bu lông cấp bền 8.8 mạ điện phân là một thành phần chịu lực và quan trọng trong nhiều ngành công nghiệp và các dự án xây dựng. Sự ổn định và đáng tin cậy của sản phẩm này làm cho nó trở thành một lựa chọn phổ biến nhất và lý tưởng cho các ứng dụng đòi hỏi độ bền cao và tính an toàn.
Công ty TNHH Phát triển thương mại Thọ An chuyên cung cấp các loại bu lông cấp bền 8.8 mạ điện phân và các chủng loại bu lông khác như bu lông cấp bền 10.9, Bu lông Inox 201, 304, 316, Bu lông lục giác chìm, bu lông tai hồng, bu lông móng…….
Quý khách hàng có nhu cầu đặt mua bu lông vui lòng liên hệ:
CÔNG TY TNHH PHÁT TRIỂN THƯƠNG MẠI THỌ AN
Hotline/Zalo: 0982.83.1985 – 0982 466 596
Email: bulongthoan2013@gmail.com
Website:www.bulongthoan.com.vn
Công ty Thọ An chuyên sản xuất, nhập khẩu và phân phối các sản phẩm bu lông chính hãng như:






