Bu lông M12 là một trong những loại bu lông được sử dụng rộng rãi trong ngành công nghiệp và xây dựng. Chữ “M” trong bu lông M12 biểu thị kích thước đường kính danh định của thân bu lông, còn “12” là con số thể hiện đường kính của bu lông tính theo milimet (mm), nghĩa là bu lông này có đường kính thân là 12mm. Bài viết dưới đây sẽ giúp bạn hiểu rõ hơn về loại bulong này, hãy theo dõi để biết thêm chi tiết nhé.
Thế nào là bulong M12
Bulong M12 là một loại bulong có đường kính là 12mm, được sử dụng rộng rãi trong các công trình xây dựng, cơ khí, và lắp ráp thiết bị công nghiệp. Bulong M12 được đánh giá cao nhờ vào khả năng chịu lực tốt, độ bền bỉ và độ chính xác cao, đáp ứng được nhiều tiêu chuẩn chất lượng khắt khe như ISO hoặc DIN. Đây là lựa chọn tối ưu cho các ứng dụng yêu cầu độ chắc chắn và tính bền vững như kết cấu thép, cơ cấu cầu đường, và hệ thống khung nhà tiền chế.

Bu lông M12 là thuật ngữ dùng để chỉ các loại bulong có đường kính 12mm
Bulong M12 thường được sản xuất từ các chất liệu như thép carbon, inox, hoặc thép cacbon cường độ cao, giúp chúng có khả năng chống chịu cao. Ngoài ra, với các loại mạ kẽm hoặc mạ inox, bulong M12 có khả năng chống gỉ sét cao, đảm bảo tuổi thọ dài lâu cho các công trình. Các loại bulong M12 cường độ cao cũng là lựa chọn phổ biến khi lắp đặt những cấu trúc cần độ chịu tải lớn, bởi khả năng chống biến dạng và bền bỉ ngay cả dưới tác động lực mạnh.
>> Tham khảo thêm bài viết về bu lông M22
Thông số kỹ thuật của bulong M12
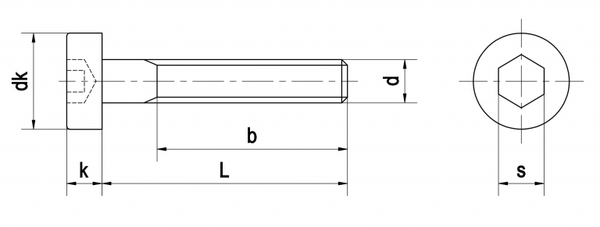
Cấu tạo của bulong M12
Cấu tạo của bulong M12 bao gồm các thành phần chính sau: đầu bulong, thân bulong.
-
Đầu bulong: là phần trên cùng của bulong, có thể có nhiều dạng khác nhau, như hình lục giác. Đầu bulong giúp người dùng dễ dàng siết chặt hoặc tháo lỏng bulong bằng các dụng cụ cơ khí. Đặc biệt, đầu lục giác là dạng phổ biến nhất vì tính ổn định khi siết lực, giúp tránh hiện tượng trượt hoặc trầy xước trong quá trình lắp ráp.
-
Thân bulong: thường được chế tạo từ các loại vật liệu có độ bền cao như thép carbon hoặc thép không gỉ (inox). Thân bulong là yếu tố chính chịu tải lực kéo và lực nén, giúp duy trì sự liên kết vững chắc trong các cấu trúc. Phần thân bulong được tạo thành những đường ren, gồm nhiều vòng xoắn giúp bulong bám chặt vào các vật liệu khác khi được vặn vào. Ren của bulong M12 có dạng ren thô hoặc ren mịn, tùy thuộc vào yêu cầu kỹ thuật của từng ứng dụng.
Kích thước của bulong M12
Với đường kính thân tiêu chuẩn là 12mm, bulong M12 thường được lựa chọn cho các cấu trúc cần khả năng chịu tải cao, đồng thời đảm bảo độ bền bỉ và tính ổn định. Để phù hợp với các yêu cầu khác nhau, bulong M12 có các kích thước chiều dài đa dạng, từ 20mm đến 200mm, đáp ứng nhiều mục đích sử dụng khác nhau, từ công trình dân dụng đến hệ thống máy móc công nghiệp.

Kích thước tiêu chuẩn của bulong M12
Ngoài ra, bulong M12 thường có chiều cao phần mũ là 7.5mm, chiều rộng 19mm và bước ren của bulong M12 là 1.75mm. Đây là kích thước tiêu chuẩn của bulong M12. Tất nhiên để phù hợp với từng công trình thì bulong M12 thường sẽ được sản xuất riêng nên những thông số này có thể thay đổi.
Tất cả các loại bulong M12 phổ biến
Trên thị trường hiện nay, có nhiều loại bulong M12 khác nhau, mỗi loại có những đặc điểm riêng biệt và phù hợp cho từng mục đích sử dụng. Dưới đây là ba loại bulong M12 phổ biến và được sử dụng nhiều nhất.
Bulong lục giác chìm M12

Bulong lục giác chìm M12
Bulong lục giác chìm M12 là loại bulong được thiết kế với đầu chìm và có rãnh lục giác. Loại bulong này thường được sử dụng khi yêu cầu về tính thẩm mỹ cao hoặc khi bề mặt cần một kết cấu phẳng, không lồi. Bulong lục giác chìm có đường kính 12mm được chế tạo từ thép không gỉ hoặc thép hợp kim cao cấp, đảm bảo độ bền và khả năng chịu lực tốt. Bề mặt của bulong lục giác chìm thường được xử lý mạ kẽm hoặc mạ điện phân để tăng khả năng chống gỉ sét và ăn mòn, giúp kéo dài tuổi thọ của sản phẩm trong điều kiện môi trường khắc nghiệt.
Bulong nở M12
Bulong nở M12 là loại bulong được thiết kế để bám chặt vào các bề mặt cứng như bê tông, gạch, hoặc đá. Đặc điểm nổi bật của bulong nở M12 là khả năng giãn nở khi được siết chặt, giúp bulong cố định vững chắc vào lỗ khoan trên bề mặt. Loại bulong này thích hợp cho các ứng dụng lắp đặt máy móc nặng, biển hiệu,… Nhờ khả năng bám chặt và ổn định, bulong nở M12 là lựa chọn hàng đầu trong thi công các cấu trúc cần chịu lực kéo, lực nén từ các vật liệu như bê tông hay đá cứng.
Bulong neo móng M12

Bulong neo móng M12
Tiến đến chúng ta sẽ tìm hiểu về bulong neo móng M12. Đây là một loại bulong chuyên dụng để cố định và kết nối các cấu kiện lớn vào nền móng bê tông. Bulong neo móng với kích thước đường kính 12mm sẽ khác biệt hơn những loại bulong khác bởi chúng có rất nhiều hình dáng khác nhau, điều này giúp chúng có thể ứng dụng vào các công trình có yêu cầu riêng. Ứng dụng của bulong neo móng M12 rất đa dạng, bao gồm các công trình hạ tầng như cầu đường, nhà xưởng công nghiệp, và hệ thống móng cột. Bulong neo móng M12 không chỉ mang lại sự ổn định cho cấu trúc, mà còn góp phần nâng cao tuổi thọ công trình thông qua khả năng chịu lực và chống ăn mòn xuất sắc.
Một số câu hỏi liên quan về bulong M12
Bulong M12 được chia thành mấy nhóm
Thông thường bạn sẽ thấy trên thị trường, bulong M12 sẽ được chia thành 4 bốn nhòm. Cụ thể
Phân loại bulong M12 theo cách xử lý bề mặt
Phân loại bulong M12 dựa trên cách xử lý bề mặt giúp phân biệt các loại bulong khác nhau về khả năng chống ăn mòn và độ bền. Dưới đây là những nhóm phổ biến nhất:
-
Bulong M12 mạ kẽm nhúng nóng: Đây là loại bulong được phủ một lớp kẽm trên bề mặt thông qua quá trình nhúng nóng, tạo lớp bảo vệ giúp chống gỉ sét tốt trong môi trường ẩm ướt hoặc ngoài trời.
-
Bulong M12 mạ điện: Loại này được xử lý bề mặt bằng mạ điện để tăng độ sáng và tạo lớp bảo vệ chống oxi hóa. Phù hợp với các môi trường khô ráo hoặc trong nhà.
-
Bulong M12 thô: Là loại bulong không được xử lý bề mặt.
Phân loại bulong M12 theo hình dáng
Bulong M12 còn được phân loại theo hình dáng để phù hợp với các yêu cầu kỹ thuật của từng ứng dụng cụ thể. Một số loại phổ biến gồm:
-
Bulong M12 lục giác ngoài: Đây là loại bulong phổ biến nhất, với đầu lục giác cho phép sử dụng dễ dàng bằng cờ lê hoặc các dụng cụ cơ khí cầm tay.
-
Bulong M12 lục giác chìm: Tương tự như loại bulong nói trên, nhưng bulong M12 lục giác chìm sẽ được thiết kế với phần đầu bị chìm giúp tăng cường khả năng chịu lực và thích hợp cho các ứng dụng cần độ thẩm mỹ.
Phân loại bulong M12 theo cấp bền
Cấp bền là yếu tố quan trọng khi chọn bulong M12 vì nó ảnh hưởng trực tiếp đến khả năng chịu lực của bulong. Các cấp bền của bulong M12
-
Bulong M12 cấp bền 4.6 – 6.6: Cấp bền này thích hợp cho các ứng dụng nhẹ, yêu cầu chịu lực không quá cao, ví dụ như các công trình xây dựng dân dụng.
-
Bulong M12 cấp bền 8.8 trở lên: Đây là loại bulong chịu lực cao, thường được sử dụng trong các kết cấu thép, giàn giáo, và các hệ thống kết cấu cần độ an toàn cao.
Phân loại theo tiêu chuẩn cường độ lực kéo
Bulong M12 thường tuân thủ các tiêu chuẩn quốc tế như ISO, ASTM, hoặc JIS để đảm bảo chất lượng và độ an toàn. Một số tiêu chuẩn phổ biến cho bulong M12 gồm:
-
Tiêu chuẩn ISO 898-1: Xác định các cấp bền và giới hạn chịu tải của bulong
-
Tiêu chuẩn ASTM A325: Là tiêu chuẩn cho bulong chịu lực cao, thường được sử dụng trong các kết cấu thép và công trình có tải trọng lớn.
-
Tiêu chuẩn JIS B1180: Tiêu chuẩn Nhật Bản áp dụng cho các loại bulong cường độ cao, giúp đảm bảo bulong M12 đạt độ bền tối ưu
Bulong M12 dùng cờ lê bao nhiêu
Bulong M12 thực chất là loại bulong có đường kính là 12mm, chúng cũng không khác biệt so với những loại bulong thông thường. Bạn có thể sử dụng cờ lê kích thước 19mm để siết hoặc tháo bulong M12.
Bảng báo giá bulong M12 mới nhất 2024
Dưới đây là bảng báo giá bulong M12, bạn hãy theo khảo để biết thêm chi tiết nhé.
|
STT |
Kích thước |
Giá thành |
|
1 |
M12x30 |
Liên hệ |
|
2 |
M12x40 |
Liên hệ |
|
3 |
M12x50 |
Liên hệ |
|
4 |
M12x60 |
Liên hệ |
|
5 |
M12x70 |
Liên hệ |
|
6 |
M12x80 |
Liên hệ |
|
7 |
M12x90 |
Liên hệ |
|
8 |
M12x100 |
Liên hệ |
Như đã đề cập ở trên bulong M12 có rất nhiều chủng loại, kích thước,… khác nhau nên chúng sẽ không có một mức giá chung. Ngoài ra giá thực tế của bulong M12 sẽ thay đổi tùy từng thời điểm, để nhận được báo giá chính xác nhất bạn hãy liên hệ với Bulong Thọ An theo hotline sau: 0982466596.
Trên đây là bài viết chi tiết về sản phẩm bulong M12 mà bulong Thọ An muốn gửi đến bạn. Nếu như bạn có bất kỳ thắc mắc nào hoặc muốn tìm hiểu thêm về các loại bulong có thể liên hệ với chúng tôi để nhận được tư vấn sớm nhất nhé.
Quý khách hàng có nhu cầu đặt mua bu lông vui lòng liên hệ:
CÔNG TY TNHH PHÁT TRIỂN THƯƠNG MẠI THỌ AN
Hotline/Zalo: 0982.466.596 – 0982.831.985
Email: bulongthoan2013@gmail.com
Website:www.bulongthoan.com.vn
Công ty Thọ An chuyên sản xuất, nhập khẩu và phân phối các sản phẩm bu lông chính hãng như:
