1. Bảng tra kích thước bu lông lục giác ngoài theo tiêu chuẩn DIN 933:

|
d |
M4 |
M5 |
M6 |
M8 |
M10 |
M12 |
M14 |
M16 |
M18 |
M20 |
M22 |
|
P |
0.7 |
0.8 |
1 |
1.25 |
1.5 |
1.75 |
2 |
2 |
2.5 |
2.5 |
2.5 |
|
k |
2.8 |
3.5 |
4 |
5.3 |
6.4 |
7.5 |
8.8 |
10 |
11.5 |
12.5 |
14 |
|
s |
7 |
8 |
10 |
13 |
17 |
19 |
22 |
24 |
27 |
30 |
32 |
|
d |
M24 |
M27 |
M30 |
M33 |
M36 |
M39 |
M42 |
M45 |
M48 |
M52 |
M56 |
|
P |
3 |
3 |
3.5 |
3.5 |
4 |
4 |
4.5 |
4.5 |
5 |
5 |
5.5 |
|
k |
15 |
17 |
18.7 |
21 |
22.5 |
25 |
26 |
28 |
30 |
33 |
35 |
|
s |
36 |
41 |
46 |
50 |
55 |
60 |
65 |
70 |
75 |
80 |
85 |
2. Bảng tra bu lông lục giác ngoài theo tiêu chuẩn DIN 931:

|
d |
M4 |
M5 |
M6 |
M8 |
M10 |
M12 |
M14 |
M16 |
M18 |
M20 |
M22 |
|
P |
0.7 |
0.8 |
1 |
1.25 |
1.5 |
1.75 |
2 |
2 |
2.5 |
2.5 |
2.5 |
|
k |
2.8 |
3.5 |
4 |
5.3 |
6.4 |
7.5 |
8.8 |
10 |
11.5 |
12.5 |
14 |
|
s |
7 |
8 |
10 |
13 |
17 |
19 |
22 |
24 |
27 |
30 |
32 |
|
b1, L≤125 |
14 |
– |
18 |
22 |
26 |
30 |
34 |
38 |
42 |
46 |
50 |
|
b2, 125<L≤200 |
– |
22 |
24 |
28 |
32 |
36 |
40 |
44 |
48 |
52 |
56 |
|
b3, L>200 |
– |
– |
– |
– |
– |
– |
– |
57 |
61 |
65 |
69 |
|
d |
M24 |
M27 |
M30 |
M33 |
M36 |
M39 |
M42 |
M45 |
M48 |
M52 |
M56 |
|
P |
3 |
3 |
3.5 |
3.5 |
4 |
4 |
4.5 |
4.5 |
5 |
5 |
5.5 |
|
k |
15 |
17 |
18.7 |
21 |
22.5 |
25 |
26 |
28 |
30 |
33 |
35 |
|
s |
36 |
41 |
46 |
50 |
55 |
60 |
65 |
70 |
75 |
80 |
85 |
|
b1, L≤125 |
54 |
60 |
66 |
72 |
78 |
84 |
90 |
96 |
102 |
– |
– |
|
b2, 125<L≤200 |
60 |
66 |
72 |
78 |
84 |
90 |
96 |
102 |
108 |
116 |
124 |
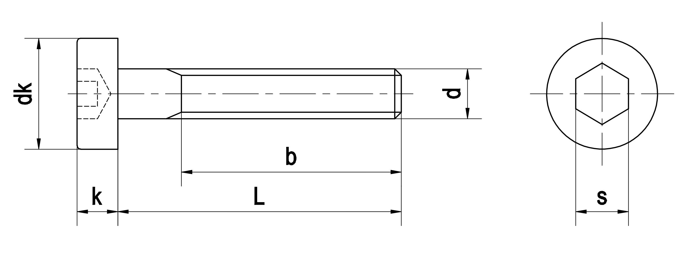
3. Bảng tra bu lông lục giác chìm đầu trụ theo tiêu chuẩn DIN 912:

|
d |
M3 |
M4 |
M5 |
M6 |
M8 |
M10 |
M12 |
M14 |
M16 |
M18 |
M20 |
M22 |
M24 |
M27 |
M30 |
|
P |
0,5 |
0,7 |
0,8 |
1 |
1,25 |
1,5 |
1,75 |
2 |
2 |
2,5 |
2,5 |
2,5 |
3 |
3 |
3,5 |
|
b* |
18 |
20 |
22 |
24 |
28 |
32 |
36 |
40 |
44 |
48 |
52 |
56 |
60 |
66 |
72 |
|
dk |
5,5 |
7 |
8,5 |
10 |
13 |
16 |
18 |
21 |
24 |
28 |
30 |
33 |
36 |
40 |
45 |
|
k |
3 |
4 |
5 |
6 |
8 |
10 |
12 |
14 |
16 |
18 |
20 |
22 |
24 |
27 |
30 |
|
s |
2,5 |
3 |
4 |
5 |
6 |
8 |
10 |
12 |
14 |
14 |
17 |
17 |
19 |
19 |
22 |
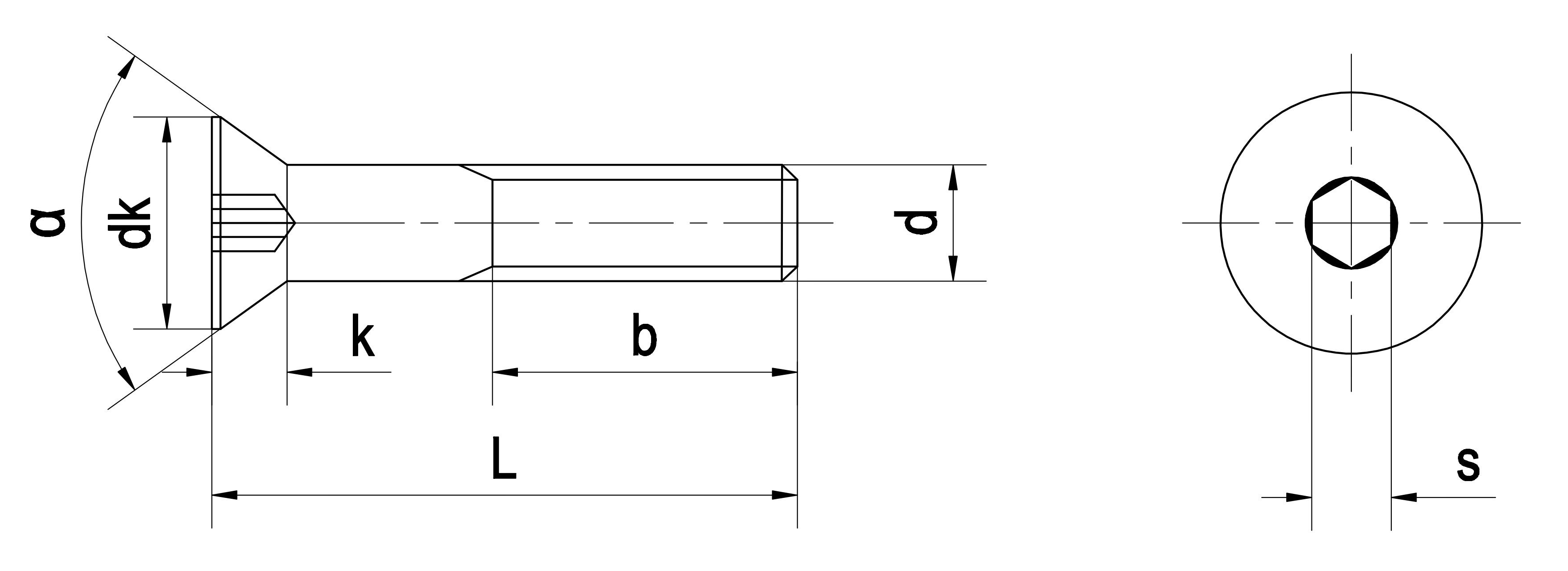
4. Bảng tra bu lông lục giác chìm đầu cầu theo tiêu chuẩn DIN 7380:

|
d |
M3 |
M4 |
M5 |
M6 |
M8 |
M10 |
M12 |
M14 |
M16 |
M18 |
M20 |
M22 |
M24 |
M27 |
M30 |
|
P |
0,5 |
0,7 |
0,8 |
1 |
1,25 |
1,5 |
1,75 |
– |
2 |
– |
– |
– |
– |
– |
– |
|
dk |
5,7 |
7,6 |
9,5 |
10,5 |
14 |
17,5 |
21 |
– |
28 |
– |
– |
– |
– |
– |
– |
|
k |
1,65 |
2,2 |
2,75 |
3,3 |
4,4 |
5,5 |
6,6 |
– |
8,8 |
– |
– |
– |
– |
– |
– |
|
s |
2 |
2,5 |
3 |
4 |
5 |
6 |
8 |
– |
10 |
– |
– |
– |
– |
– |
– |
5. Bảng tra bu lông lục giác chìm đầu bằng theo tiêu chuẩn DIN 7991:

|
d |
M3 |
M4 |
M5 |
M6 |
M8 |
M10 |
M12 |
M14 |
M16 |
M18 |
M20 |
M22 |
M24 |
M27 |
M30 |
|
P |
0,5 |
0,7 |
0,8 |
1 |
1,25 |
1,5 |
1,75 |
– |
2 |
– |
2,5 |
– |
– |
– |
– |
|
dk |
6 |
8 |
10 |
12 |
16 |
20 |
24 |
– |
30 |
– |
36 |
– |
– |
– |
– |
|
k |
1,7 |
2,3 |
2,8 |
3,3 |
4,4 |
5,5 |
6,5 |
– |
7,5 |
– |
8,5 |
– |
– |
– |
– |
|
α |
90 0 |
90 0 |
90 0 |
90 0 |
90 0 |
90 0 |
90 0 |
– |
90 0 |
– |
90 0 |
– |
– |
– |
– |
|
s |
2 |
2,5 |
3 |
4 |
5 |
6 |
8 |
– |
10 |
– |
12 |
– |
– |
– |
– |
6. Bảng tra đai ốc (Ecu) theo tiêu chuẩn DIN 934:


|
d |
M3 |
M4 |
M5 |
M6 |
M7 |
M8 |
M10 |
M12 |
M14 |
|
P |
0,5 |
0,7 |
0,8 |
1 |
1 |
1,25 |
1,5 |
1,75 |
2 |
|
m |
2,4 |
3,2 |
4 |
5 |
5,5 |
6,5 |
8 |
10 |
11 |
|
s |
5,5 |
7 |
8 |
10 |
11 |
13 |
17 |
19 |
22 |
|
d |
M16 |
M18 |
M20 |
M22 |
M24 |
M27 |
M30 |
M33 |
M36 |
|
P |
2 |
2,5 |
2,5 |
2,5 |
3 |
3 |
3,5 |
3,5 |
4 |
|
m |
13 |
15 |
16 |
18 |
19 |
22 |
24 |
26 |
29 |
|
s |
24 |
27 |
30 |
32 |
36 |
41 |
46 |
50 |
55 |
Hướng dẫn lựa chọn bu lông tiêu chuẩn có kích thước phù hợp
- Đo chính xác kích thước, vị trí lắp đặt bu lông: Trước khi chọn mua bu lông, điều quan trọng đầu tiên là bạn cần xác định chính xác vị trí và đặc điểm lắp đặt. Hãy đo đường kính lỗ bắt bu lông, chiều sâu ren cần thiết, và xác định xem tải trọng làm việc có lớn hay không. Ví dụ, với các liên kết trong kết cấu thép, bu lông thường cần có đường kính từ M16 trở lên, trong khi các mối nối cơ khí nhỏ hoặc trong ngành nội thất có thể chỉ cần các dòng như bu lông M6, M8.
- Tham khảo bảng kích thước bu lông: Sau khi đã đo đạc, bạn nên tra bảng kích thước bu lông theo tiêu chuẩn ISO hoặc DIN để đảm bảo chọn đúng loại bu lông phù hợp với mục đích sử dụng. Trong bảng tra, bạn sẽ thấy thông tin cụ thể về: Kích thước danh định; Bước ren; Chiều dài bu lông.
- Liên hệ với Bulong Thọ An để nhận tư vấn chi tiết nhất: Trong trường hợp bạn vẫn phân vân chưa biết lựa chọn loại bu lông nào phù hợp với ứng dụng cụ thể như trong kết cấu thép, cơ khí chế tạo, lắp đặt nội thất hay công trình ngoài trời, đừng ngần ngại liên hệ với Bulong Thọ An. Với đội ngũ kỹ thuật viên giàu kinh nghiệm chúng tôi sẽ tư vấn cụ thể từ việc xác định loại bu lông cho đến chất liệu giúp bạn chọn được sản phẩm phù hợp nhất với ứng dụng.
Trên đây là Bảng tra cứu kích thước bu lông tiêu chuẩn phổ biến mới nhất 2024 mà Bu Lông Thọ An cung cấp tới quý khách hàng. Để biết thêm thông tin về sản phẩm quý khách hàng liên hệ với Công ty TNHH phát triển thương mại Thọ An!
Quý khách hàng có nhu cầu đặt mua bu lông vui lòng liên hệ:
CÔNG TY TNHH PHÁT TRIỂN THƯƠNG MẠI THỌ AN
Hotline/Zalo: 0982.466.596 – 0982.831.985
Email: bulongthoan2013@gmail.com
Website:www.bulongthoan.com.vn
Công ty Thọ An chuyên sản xuất, nhập khẩu và phân phối các sản phẩm bu lông chính hãng như:
